- 地址:
- 河北省泊頭市富鎮開發區
- 傳真:
- 0317-8041117
- Q Q:
- 28505225
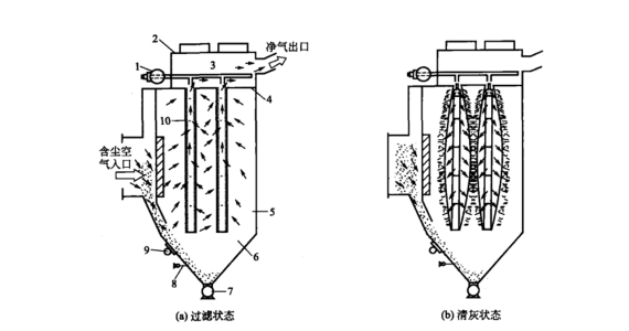
脈沖袋式除塵器一般采用圓形濾袋,按含塵氣流運動方向分為側進風、下進風兩種形式。 這種除塵器通常由上箱體(凈氣室〉、中箱體、灰斗、框架以及脈沖噴吹裝置等部分組成。其 工作原理如圖2-13所示。
工作時含塵氣體從箱體下部進人灰斗后,由于氣流斷面積突然擴大,流速降低,氣流中一 部分顆粒粗、密度大的塵粒在重力作用下,在灰斗內沉降下來;粒度細、密度小的塵粒進人袋 濾室后,通過濾袋表面的慣性、碰掩、篩濾、攔截和靜電等綜合效應,使粉塵沉降在濾袋表面 上并形成粉塵層。凈化后的氣體進入凈氣室由排氣管經風機排出。
袋式除塵器的阻力值隨濾袋表面粉塵層厚度的增加而增加。在此過程中除塵器進行過濾的 任一時間的阻力值,可以由下式求出:^p=/xvc(.A+Bpvovct~)?(2-1)式中,vc為過濾風速,m/s; f,為氣體動力黏度系數,Pa ? s; pvo為氣體初始含塵量, kg/m3, A, B為系數,取決于濾料的孔隙率,幾何特性和氣體動力特性,其值用試驗的方法 確定;《為時間,s。

圖2-13脈沖除塵器工作原理圖 1 一脈沖閥I 2—凈氣宰| 3—晡吹管> 4一花板丨5—箱體! 6—灰斗> 7_回轉閥:
8_料位計> 9一振打器> 10_?袋
當其阻力值達到某一規定值時,必須進行噴吹清灰。
在給定除塵器壓降的情況下,由下式可以求出必需的清灰周期~ :
tp = ^p/^tv,; —A/(Bvc—pvo)?(2-2)式中,符號意義同前。
但是應當指出,為達到較高的氣體除塵效率,在清灰時從濾料上只是破壞和去掉一部分粉 塵層,而不是把濾袋上的粉塵全部清除掉。
脈沖噴吹的淸灰是由脈沖控制儀(或PLC)控制脈沖閥的啟閉,當脈沖閥開啟時,氣包 的壓縮空氣通過脈沖閥經噴吹管上的小孔,向濾袋口噴射出一股高速高壓的引射氣流,形成一 股相當于引射氣流體積若干倍的誘導氣流,一同進人濾袋內,使濾袋內出現瞬間正壓,急劇膨 脹;沉積在濾袋外側的粉塵脫落,掉人灰斗內,達到清灰目的。

下一篇:反吹袋式除塵器

